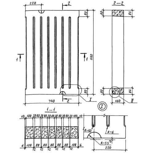
ПР 74.116.16

Чертеж изделия:
Характеристики изделия:
ПараметрЗначение
длина1160 мм
ширина740 мм
высота160 мм
вес300 кг
шифрВ 019

ПР 74.116.16 Плиты решётчатые по Шифру В 019.