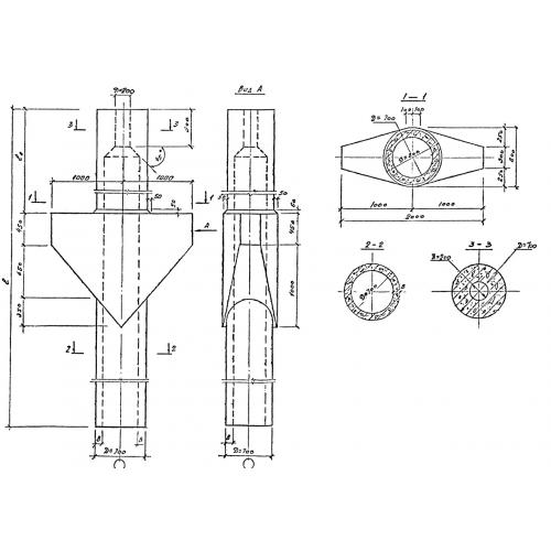
КС 108

Чертеж изделия:
Характеристики изделия:
ПараметрЗначение
длина12000 мм
ширина2000 мм
высота800 мм
вес7900 кг
ШифрЭ 1708/1

КС 108 Колонны средние по Шифру Э 1708/1.