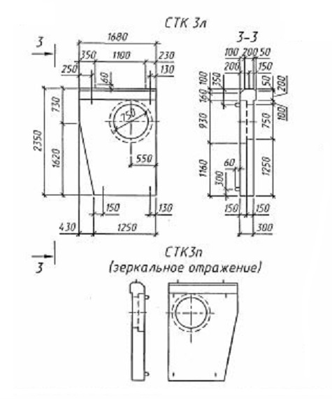
СТК 3

Чертеж изделия:
Характеристики изделия:
ПараметрЗначение
длина2350 мм
ширина1680 мм
высота350 мм
масса2300 кг
нормативный документШифр 1484

СТК 3  Стенки портальные по Шифру 1484.