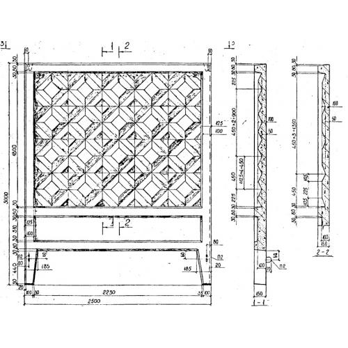
ПО-13 плиты забора

Чертеж изделия:
Характеристики изделия:
ПараметрЗначение
длина2500 мм
ширина150 мм
высота3000 мм
масса1710 кг
нормативный документСерия ИЖ 31-77

ПО-13  Плиты ограждения по  Серии ИЖ 31-77.