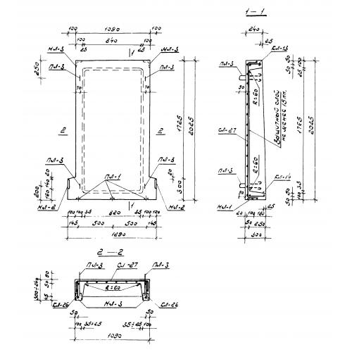
ЛП 13-20

Чертеж изделия:
Характеристики изделия:
ПараметрЗначение
длина1290 мм
ширина2025 мм
высота300 мм
масса685 кг
нормативный документСерия ИИС 04-7

ЛП 13-20 Лестничные площадки по Серии ИИС 04-7.