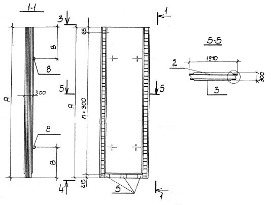
ПС 36.3-5ш

Чертеж изделия:
Характеристики изделия:
ПараметрЗначение
Длина1970 мм
Ширина300 мм
Высота3580 мм
Масса5030 кг
Нормативный документСерия 3.901.1-14

ПС 36.3-5ш   Панель стеновая доборная по Серии 3.901.1-14.

Маркировка

ПС - панель стеновая (доборная по высоте);

36 - длина стеновой панели в дм;

3 - толщина стеновой панели в дм;

5 - тип армирования;

ш - вариант со шпоночным стыком.