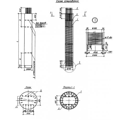
БСВ 8.60

Чертеж изделия:
Характеристики изделия:
ПараметрЗначение
длина6000 мм
ширина800 мм
высота800 мм
вес7600 кг
серия3.503.1-102

БСВ 8.60 Блоки столбов верхних по серии 3.503.1-102.