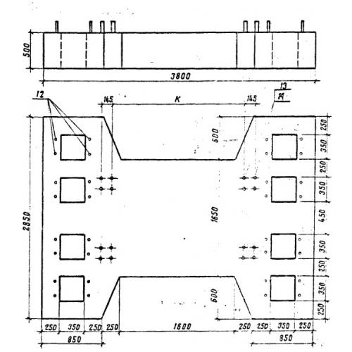
РС 3
Характеристики изделия:
| Параметр | Значение |
|---|---|
| длина | 3800 мм |
| ширина | 2850 мм |
| высота | 500 мм |
| вес | 9500 кг |
| серия | 3.501.1-131 |
Цена:
Рассчитать стоимостьРС 3 Ростверки по серии 3.501.1-131.
| Параметр | Значение |
|---|---|
| длина | 3800 мм |
| ширина | 2850 мм |
| высота | 500 мм |
| вес | 9500 кг |
| серия | 3.501.1-131 |
РС 3 Ростверки по серии 3.501.1-131.
