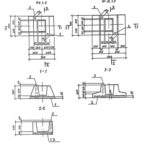
Ф 9.7.5 фундамент плиты забора

Чертеж изделия:
Характеристики изделия:
ПараметрЗначение
длина900 мм
ширина700 мм
высота450 мм
масса475 кг
нормативный документСерия 3.017-3

Ф 9.7.5 Фундаменты оград Серия 3.017-3.