ЛКО 300.360.120 лотки

Чертеж изделия:
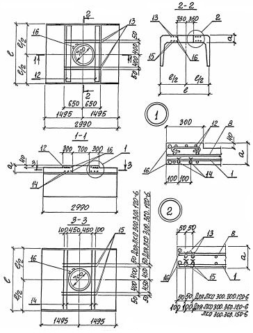
Характеристики изделия:
ПараметрЗначение
длина2990 мм
ширина3580 мм
высота1180 мм
масса7814 кг
нормативный документСерия 3.006.1-8

ЛКО 300.360.120  Лотки каналов Серия с отверстием 3.006.1-8.