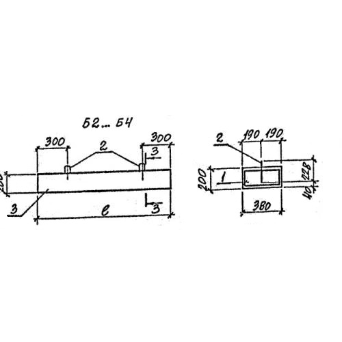
Б 3 балки

Чертеж изделия:
Характеристики изделия:
ПараметрЗначение
длина2460мм
ширина380 мм
высота200 мм
масса480 кг
нормативный документСерия 3.006.1-8

Б 3  Балки перекрытия каналов Серия 3.006.1-8.