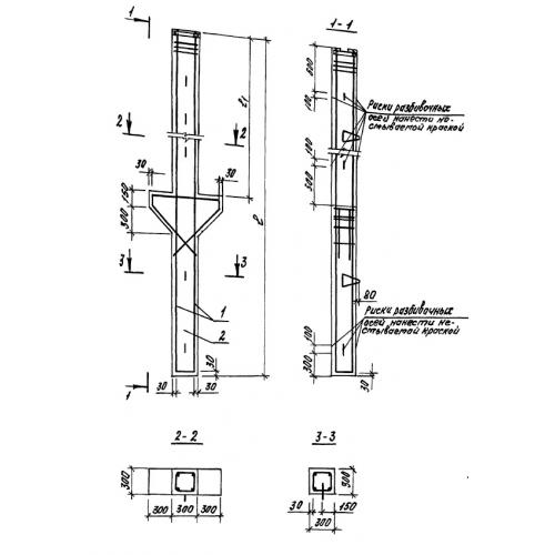
1СД 70

Чертеж изделия:
Характеристики изделия:
ПараметрЗначение
длина7000 мм
ширина900 мм
высота300 мм
вес1730 кг
серия1.821.1-7

1СД 70 Сваи-колонны по серии 1.821.1-7.