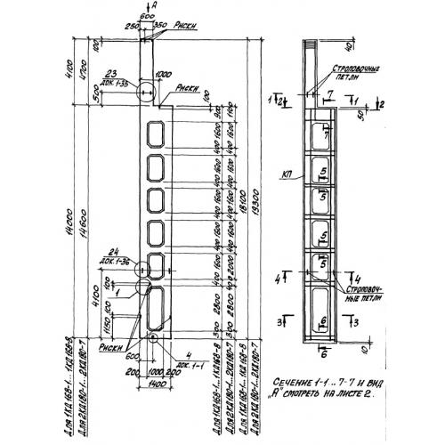
КД 168
Характеристики изделия:
| Параметр | Значение |
|---|---|
| длина | 18100 мм |
| ширина | 500 мм |
| высота | 1400 мм |
| вес | 14500 кг |
| серия | 1.424.1-9 |
Цена:
Рассчитать стоимостьКД 168 Колонны двухветвевые для каркасов зданий, оборудованных электрическими опорными подвесными кранами, или без них по серии 1.424.1-9.
