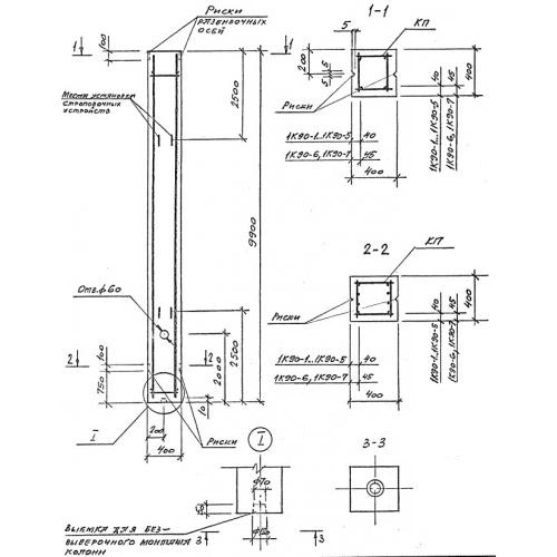
1К 90 колонны

Чертеж изделия:
Характеристики изделия:
ПараметрЗначение
длина9900 мм
ширина400 мм
высота400 мм
масса4000 кг
нормативный документСерия 1.423.1-3/88

1К 90 Колонны Серия 1.423.1-3/88.