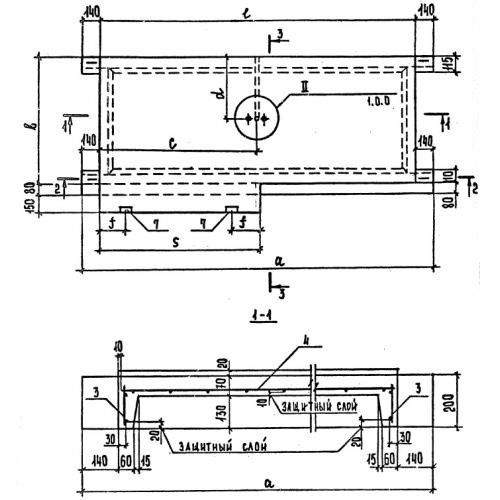
ЛПФ 34.13 Лестничные площадки ребристой конструкции

Чертеж изделия:
Характеристики изделия:
ПараметрЗначение
длина3680 мм
ширина1290 мм
высота420 мм
масса1720 кг
нормативный документСерия 1.252.1-4

ЛПФ 34.13  Лестничные площадки ребристые Серия 1.252.1-4.