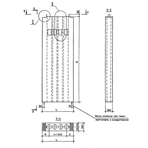
ВС 11.28

Чертеж изделия:
Характеристики изделия:
ПараметрЗначение
длина1080 мм
ширина260 мм
высота2780 мм
вес742 кг
серия1.234.8-1

ВС 11.28 Вентиляционные блоки самонесущие по серии 1.234.8-1.