ПП 17.15
Характеристики изделия:
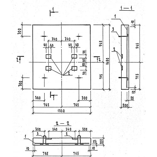
| Параметр | Значение |
|---|---|
| длина | 1680 мм |
| ширина | 1530 мм |
| высота | 200 мм |
| вес | 1300 кг |
| серия | 1.189.1-8 |
Цена:
Рассчитать стоимостьПП 17.15 Плиты приямка по серии 1.189.1-8.
| Параметр | Значение |
|---|---|
| длина | 1680 мм |
| ширина | 1530 мм |
| высота | 200 мм |
| вес | 1300 кг |
| серия | 1.189.1-8 |
ПП 17.15 Плиты приямка по серии 1.189.1-8.
