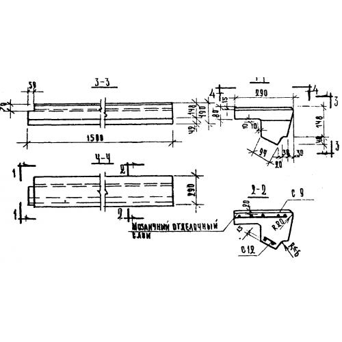
ЛС 15 к ступень верхняя фризовая с четвертью

Чертеж изделия:
Характеристики изделия:
ПараметрЗначение
длина1500 мм
ширина290 мм
высота190 мм
масса120 кг
нормативный документСерия 1.155-1

ЛС 15  Лестничные ступени Серия 1.155-1.