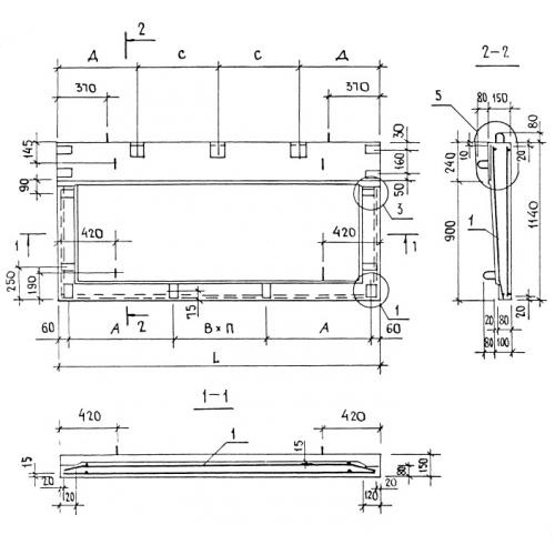
ПБК 24.11 плиты балконные

Чертеж изделия:
Характеристики изделия:
ПараметрЗначение
длина2390 мм
ширина1140 мм
высота150 мм
масса775 кг
нормативный документСерия 1.137.1-9

ПБК 24.11  Плиты балконные консольные Серия 1.137.1-9.