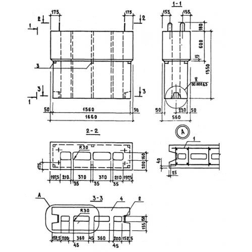
ВБК 16.14.6 блоки вентиляционные
Характеристики изделия:
| Параметр | Значение |
|---|---|
| длина | 1660 мм |
| ширина | 560 мм |
| высота | 1350 мм |
| масса | 1100 кг |
| нормативный документ | Серия 1.134.1-12 |
Цена:
Рассчитать стоимостьВБК 16.14.6 Блоки вентиляционные крышные Серия 1.134.1-12.