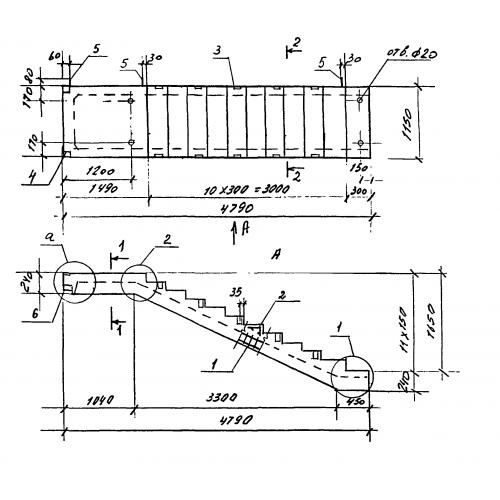
ЛМП 60.11.17

Чертеж изделия:
Характеристики изделия:
ПараметрЗначение
длина4790 мм
ширина1150 мм
высота1650 мм
вес2080 кг
серия1.050.9-4.93

ЛМП 60.11.17 Лестничные марши ребристые с полуплощадками по серии 1.050.9-4.93.