ПК 63.15

Чертеж изделия:
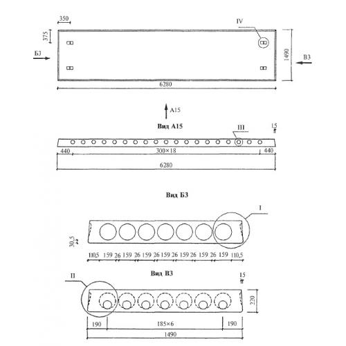
Характеристики изделия:
ПараметрЗначение
длина6280 мм
ширина1490 мм
высота220 мм
масса2850 кг
нормативный документСерия 1.041.1-5

ПК 63.15  Многопустотные плиты перекрытий межвидового назначения (Серия 1.041.1-5).

Плиты длиной 6280 мм и шириной 1490 мм с напрягаемой арматурой из стали классов  A-IIIв, A-IV, Ат-V , из тяжелого бетона.  Метод натяжения - электротермический.