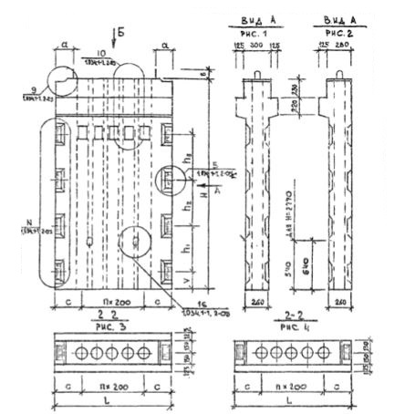
2ВД 12-33
Характеристики изделия:
| Параметр | Значение |
|---|---|
| длина | 1180 мм |
| ширина | 550 мм |
| высота | 3270 мм |
| масса | 2033 кг |
| нормативный документ | Серия 1.034.1-1 |
Цена:
Рассчитать стоимость2ВД 12-33 Вентиляционные блоки-диафрагмы жесткости двухконсольные (Серия 1.034.1-1).