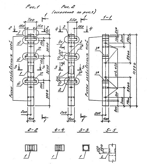
3КБО 36.36

Чертеж изделия:
Характеристики изделия:
ПараметрЗначение
длина11370 мм
ширина400 мм
высота550 мм
масса4620 кг
нормативный документСерия 1.020.1-4

3КБО 36.36     Колонны  бесстыковые одноконсольные (Серия 1.020.1-4).

Маркировка включает высоту этажей (дм), диаметры угловых и промежуточных стержней арматуры (мм), марку бетона:

3КБО 36.36-3.20.00

3КБО 36.36-3.25.00

3КБО 36.36-3.28.00

3КБО 36.36-3.32.00

3КБО 36.36-4.32.00

3КБО 36.36-4.40.00