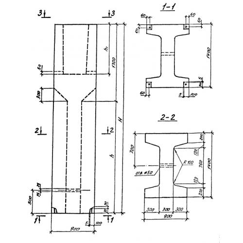
ВБ 9.14.33

Чертеж изделия:
Характеристики изделия:
ПараметрЗначение
длина900 мм
ширина1400 мм
высота3290 мм
вес7310 кг
серия0-221-84

ВБ 9.14.33 Блоки-стаканы верхние по серии 0-221-84.