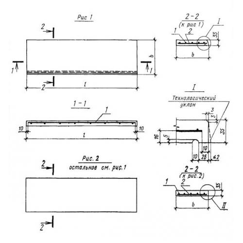
ПО 12.50 плиты подоконные

Чертеж изделия:
Характеристики изделия:
ПараметрЗначение
длина1210 мм
ширина500 мм
высота35 мм
масса53 кг
нормативный документГОСТ 8484-82

ПО 12.50  Плиты подоконные ГОСТ 8484-82.